ZANCA SAT PER RINGHIERA CM50 ZN1583
zoom_out_map
chevron_left chevron_right

ZANCA SAT PER RINGHIERA CM50 ZN1583

ZANCA PARABOLA X RINGHIERA CM. 50

Descrizione

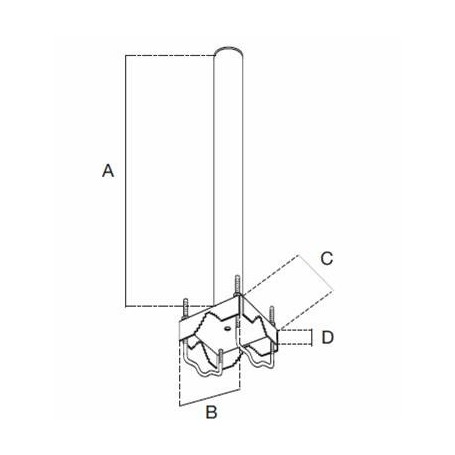
• Tubo ? 40x1,4 mm A: 500 mm
• Piastra: spessore 2,5 mm B: 100 mm C: 100 mm D: 20 mm
Inclusi cavallotti filettati con dadi (ZNCF8MA)
• Per pali ? 25÷76 mm
• Zincatura a fuoco

Scheda tecnica

ZN1583